Volkswagen ID.4: Resistance spot welding
When welding is carried out as a body repair measure, the
basic principle is to restore the original welded joint as closely
as possible.
Important
To restore the original welded joints, the following requirements
must be met:
- The positions of the original weld spots must be transferred
to the new part.
- The panels to be welded must overlap.
- The welding point is accessible to the electrodes from both
sides.
- It must be possible to place the electrodes at right angles.
- The performance of the spot welding unit is sufficient to
produce the factory-made spot weld diameter.
RP welding of galvanised panels
When spot welding galvanised panels, consider the following:
- Avoid surface spatter, i.e. spatter on the electrode side.
- Avoid melted-through spot welds.
- Avoid surface cracks.
- The flanges to be spot-welded must be in contact.
- It may be necessary to use grips to tension the flanges,
which is particularly important for high-strength panels, since
the electrode force would not be sufficient otherwise.
- Do not position the welding gun immediately adjacent to the
grips as a major part of the welding current flows off due to
shunting.
- For small weld spot distances, weld the spots in a row or first
fix every third spot, and then weld the remaining ones. This
reduces the influence due to shunting.
- If a spot weld is faulty, a new spot weld can be set at the
greatest possible distance (20 mm).
Spot weld shear testing
- Determine the required spot weld shear diameter of the
panel combination via the setting parameters for the panel
thickness on the welding unit, and verify them on samples.
- High-quality spot welds never tear out in the contact plane,
but shear off.
Calculating shear-off diameter -d-:
T1 is the thinnest panel of a panel combination, e.g. panel
combination of 1.5 mm and 0.8 mm. Sample calculation: square
root of 0.8 × 3.5 × 1.15 = 3.6 mm as spot weld shear diameter.
Here, the narrow welded test strip is rolled off or torn off the
second panel strip, whereas the force is applied vertically to the
panel surface.

- Drill/punch upper panel for plug welding (for the hole diameter
refer to the vehicle-specific body repair workshop manual).
- Clean flanges, and remove oxide layer.
- Perform plug welding from the middle working outwards.
Continuous seam and stepped seam welding - shielding gas
SG continuous seam or stepped seam welding are used for
joining butt-type or overlapping cutting points. Due to the very
high welding temperatures and the resulting modified properties
of modern materials, the area of application for this joining process
is more and more restricted. Note vehicle-specific body
repair workshop manual for this.
MIG brazing
MIG brazing mainly differs from SG continuous seam and
stepped seam welding through the considerably lower temperatures.
MIG brazing
- A brazing technique also called metal inert gas welding.
- The inert gas does not actively participate in the processes
between the electric arc and the welding filler metal.
- Argon or helium mixed with carbon dioxide or oxygen are
among the used shielding gas types.
- The base material (body panel) is not melted, the solder
wets the edges and connects the components.
Advantages of MIG brazing:
- Reduced material distortion.
- Only minor structural modification in the components.
- Less impairment of the corrosion protection established during
production
- Preservation of zinc coating on the components.
Aluminium welding
The manufacturer and the after-sales service apply metal inert
gas welding (MIG).
Argon is used as shielding gas.
- Remove underseal and paint from parts prior to welding.
- Then, use a stainless steel brush to remove the oxide layer
over a width of approx. 40 mm on both sides.
- To avoid the formation of cracks, always draw weld seams
around profile corners.
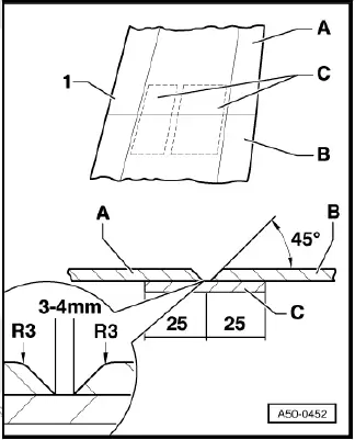
Put backing plate underneath:
- The backing plate -C- is produced from the remainders of
the new part -B- or the old part -A-. The backing plate
must also be put underneath joggled panel edges. For small
cross-sections or large panel edges, the backing plate is
separated.
- Chamfer both panels by 45º. Round off outer edge (radius
= -R3-) and chamfer inner edge.
- The panel tips must have a distance of 3 to 4 mm to each
other.
