Volkswagen ID.4: Roof
Assembly overview - vehicle without glass panel
- Roof
- ⇒ Rep. gr. 51; Renewing
roof - vehicle without
glass panel
- Laser brazing seams
- Bonded areas
- Roof railing holder

Assembly overview - vehicle with glass panel
- Roof
- ⇒ Rep. gr. 51; Renewing
roof - vehicle with
glass panel
- Laser brazing seams
- Bonded areas
- Roof railing holder
- Glass panel reinforcement
frame

Assembly overview - roof side member
Overview shown for left side of vehicle as an example
- Roof side member
- ⇒ Rep. gr. 51; Renewing
roof side member
- Separating cut
- Parting cut can be combined
with others in cases
where extent of
damage requires multiple
cuts.
- Gas strut reinforcement
- Moulded foam inserts
- ⇒ Rep. gr. 00; Moulded
foam inserts
- Separating cut
- Parting cut can be combined
with others in cases
where extent of
damage requires multiple
cuts.
- Bonded area
- Separating cut
- Parting cut can be combined
with others in cases
where extent of
damage requires multiple
cuts.
- Separating cut
- Parting cut can be combined
with others in cases
where extent of
damage requires multiple
cuts.

Renewing roof - vehicle without glass panel
WARNING
Gases/vapours hazardous to health are generated when
welding, soldering or cutting using tools which produce sparks
in foam-treated areas.
- Do not weld, solder or cut closer than 15 mm to moulded
foam inserts.
- Use an extraction system during work
NOTICE
If separating cuts are made too deep, underlying reinforcement
could be damaged.
- Only make separating cuts with body saw.
- Rewelding of reinforcements is not permitted due to safety
reasons.
NOTICE
If welds are positioned too far on outside, strength could be
impaired
- RP weld points must be placed as far as possible from
outer edge of welding flange.
NOTICE
If adhesive is applied prematurely, bond could be impaired
- New part must be welded in within 90 minutes.
NOTICE
Bonding properties of adhesive may be impaired if adhesive
components are not hardened sufficiently.
- After bonding, the vehicle must not be moved and left at
room temperature (at least 15ºC) for 8 to 10 hours.
- During this time, the vehicle must be standing on a level
surface.
Observe safety information ⇒ Rep. gr. 00; Safety information
Only tools and workshop equipment authorised by Volkswagen
AG may be used ⇒ 2.1
Removing
- Apply duct tape to left and right roof members parallel to
laser brazing seams.

- Roughly cut roof -1- out parallel to laser solder seams -2-.
- Separate original joint.
- Remove roof -1-.
- Remove remaining material -1-. Do not damage roof side
member.

- Carefully remove remaining material of laser soldered seam
from left and right roof side members.
- Completely remove remaining adhesive.
- Grind bonding surfaces and welding surfaces back to bare
metal and clean.
- Apply corrosion protection measures to left and right roof
side members ⇒ Body, General paint information, Technical
data, General information; Pre-treatment of bonded surfaces
using 2-component epoxy filler when replacing laser-welded
roofs.
- Completely remove remaining adhesive.

- Grind bonding surfaces and welding surfaces back to bare
metal and clean.
- Apply corrosion protection measures ⇒ Body, General paint
information, Technical data, General information; Pre-treatment
of bonded surfaces using 2-component epoxy filler
when replacing laser-welded roofs.
- Grind bonding surface for 2-pack body adhesive -1- down to
bare metal and clean.

- Implement corrosion protection measures on sand-through
spots of bonding surface for 1-component assembly adhesive
-2- General paint information - passenger vehicles; Repair
group 00; General information; Pre-treatment of bonding
surfaces when renewing laser-welded roofs.
- Apply glass/paint primer to bonding surface for 1-pack assembly
adhesive -2-.
Installing
Replacement parts
- For allocation of 1-pack assembly adhesive, see ⇒ Electronic
parts catalogue (ETKA)
- For allocation of 2-pack body adhesive, see ⇒ Electronic
parts catalogue (ETKA)
- For allocation of adhesive sealant, see ⇒ Electronic parts
catalogue (ETKA)
- For allocation of glass/paint primer, see ⇒ Electronic parts
catalogue (ETKA)
- For allocation of felt strips, see ⇒ Electronic parts catalogue
(ETKA)
Important
- Adhesive sealants must be applied quickly.
- It is essential to take account of the processing time (pot life)
of adhesives.
Important
- New parts must be adapted and attached with the vehicle
standing on its wheels or straightening bracket set.
- Grind welding surfaces and bonding surfaces on new part
-1- and -2- down to bare metal and clean.

- Clean bonding surfaces -2- for 1-component assembly adhesive
parallel to roof flange on left and right of new part -1-.

- Apply glass/paint primer to bonding surfaces -2- for 1-pack
assembly adhesive.
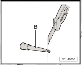
- Cut approx. 2 mm off nozzle -B- to provide appropriate bead
geometry.

- Apply 1-component assembly adhesive to roof cross member.

- Apply 1-component assembly adhesive to left and right roof
side members according to dimensions -a-, -b- and -c-.
- Dimension -a- = 3 mm
- Dimension -b- = 10 mm
- Dimension -c- = 14 mm
- Apply 1-component assembly adhesive to inside of new part
-1- parallel to roof flange on left and right according to dimensions
-a- and -b-.

- Dimension -a- = 14 mm
- Dimension -b- = 12 mm
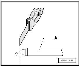
- Cut off first step of static mixer -A- to achieve corresponding
bead cross-section.

- Carefully operate double cartridge gun without static mixer
until 2-component body adhesive is discharged uniformly
from both chambers of connecting piece.
- Screw static mixer onto connecting piece.
- Discharge the first 100 mm of 2-component body adhesive
onto a piece of cardboard and only then begin to apply the
adhesive to the vehicle.
- Fill 2-component body adhesive in area of roof side members.

- Apply 2-component body adhesive to entire surface.
- Completely coat flanges of new part -1- with 2-component
body adhesive.

- Apply 2-component body adhesive to entire surface of new
part -2-.
- Adapt new part -1- to fit and fix in position

NOTICE
Risk of damage from overtensioning
- Do not overtighten tensioning straps.
- In areas shown, tension tensioning straps -2- transversely
over roof to vary height of roof.
- Check dimension -a- on roof to roof side members.
Dimension -a- = 6.0 mm +-0.5 mm
- Fix position of new part -1- on front roof cross member and
rear roof cross member using mole grips.
- If necessary, place felt strips underneath for compensation.
- Remove surplus 2-component body adhesive immediately.
- Weld in new part -1-, RP spot weld seam.

- Remove surplus 2-component body adhesive -4- immediately.
- Apply a thin coat of adhesive sealant onto seam between
new part -1- and roof side member -5- to form a fine seam
seal -2-.
- Adhesive bead -3- must seal off the interior.
Renewing roof - vehicle with glass panel
WARNING
Gases/vapours hazardous to health are generated when
welding, soldering or cutting using tools which produce sparks
in foam-treated areas.
- Do not weld, solder or cut closer than 15 mm to moulded
foam inserts.
- Use an extraction system during work.
NOTICE
If separating cuts are made too deep, underlying reinforcement
could be damaged.
- Only make separating cuts with body saw.
- Rewelding of reinforcements is not permitted due to safety
reasons.
NOTICE
If welds are positioned too far on outside, strength could be
impaired
- RP weld points must be placed as far as possible from
outer edge of welding flange.
NOTICE
If adhesive is applied prematurely, bond could be impaired
- New part must be welded in within 90 minutes.
NOTICE
Bonding properties of adhesive may be impaired if adhesive
components are not hardened sufficiently.
- After bonding, the vehicle must not be moved and left at
room temperature (at least 15ºC) for 8 to 10 hours.
- During this time, the vehicle must be standing on a level
surface.
Observe safety information ⇒ Rep. gr. 00; Safety information
Only tools and workshop equipment authorised by Volkswagen
AG may be used ⇒ 2.1
Removing
- Apply duct tape to left and right roof members parallel to
laser brazing seams.

- Roughly cut roof -1- out parallel to laser solder seams -2-.
- Separate original joint.
- Remove roof -1-.
- Remove remaining material -1-. Do not damage roof side
member.

- Carefully remove remaining material of laser soldered seam
from left and right roof side members.
- Completely remove remaining adhesive.
- Grind bonding surfaces and welding surfaces back to bare
metal and clean.
- Apply corrosion protection measures to left and right roof
side members ⇒ Body, General paint information, Technical
data, General information; Pre-treatment of bonded surfaces
using 2-component epoxy filler when replacing laser-welded
roofs.
- Grind bonding surface for 2-pack body adhesive -1- down to
bare metal and clean.

- Implement corrosion protection measures on sand-through
spots of bonding surface for 1-component assembly adhesive
-2- General paint information - passenger vehicles; Repair group 00; General
information; Pre-treatment of bonding
surfaces when renewing laser-welded roofs.
- Apply glass/paint primer to bonding surface for 1-pack assembly
adhesive -2-.
Installing
Replacement parts
- For allocation of 1-pack assembly adhesive, see ⇒ Electronic
parts catalogue (ETKA)
- For allocation of 2-pack body adhesive, see ⇒ Electronic
parts catalogue (ETKA)
- For allocation of adhesive sealant, see ⇒ Electronic parts
catalogue (ETKA)
- For allocation of glass/paint primer, see ⇒ Electronic parts
catalogue (ETKA)
- For allocation of felt strips, see ⇒ Electronic parts catalogue
(ETKA).
Important
- Adhesive sealants must be applied quickly.
- It is essential to take account of the processing time (pot life)
of adhesives.
Important
- New parts must be adapted and attached with the vehicle
standing on its wheels or straightening bracket set.
- Grind welding surfaces and bonding surfaces on new part
-1- and -2- down to bare metal and clean.

- Clean bonding surfaces -2- for 1-component assembly adhesive
parallel to roof flange on left and right of new part -1-.

- Apply glass/paint primer to bonding surfaces -2- for 1-pack
assembly adhesive.
- Cut approx. 2 mm off nozzle -B- to provide appropriate bead
geometry.

- Apply 1-component assembly adhesive to roof cross member.

- Apply 1-component assembly adhesive to left and right roof
side members according to dimensions -a-, -b- and -c-.
- Dimension -a- = 3 mm
- Dimension -b- = 10 mm
- Dimension -c- = 14 mm
- Apply 1-component assembly adhesive to inside of new part
-1- parallel to roof flange on left and right according to dimensions
-a- and -b-.

- Dimension -a- = 14 mm
- Dimension -b- = 12 mm
- Cut off first step of static mixer -A- to achieve corresponding
bead cross-section.

- Carefully operate double cartridge gun without static mixer
until 2-component body adhesive is discharged uniformly
from both chambers of connecting piece.
- Screw static mixer onto connecting piece.
- Discharge the first 100 mm of 2-component body adhesive
onto a piece of cardboard and only then begin to apply the
adhesive to the vehicle.
- Fill 2-component body adhesive in area of roof side members.

- Apply 2-component body adhesive to entire surface.
- Completely coat flanges of new part -1- with 2-component
body adhesive

- Apply 2-component body adhesive to entire surface of new
part -2-.
- Adapt new part -1- to fit and fix in position.

NOTICE
Risk of damage from overtensioning
- Do not overtighten tensioning straps.
- In areas shown, tension tensioning straps -2- transversely
over roof to vary height of roof.
- Check dimension -a- on roof to roof side members.
- Dimension -a- = 6.0 mm +-0.5 mm
- Fix position of new part -1- on front roof cross member and
rear roof cross member using mole grips.
- If necessary, place felt strips underneath for compensation.
- Remove surplus 2-component body adhesive immediately.
- Weld in new part -1-, RP spot weld seam.

- Remove surplus 2-component body adhesive immediately.

- Apply a thin coat of adhesive sealant onto seam between
new part -1- and roof side member -4- to form a fine seam
seal -2-.
- Adhesive bead -3- must seal off the interior.
Renewing roof side member
WARNING
Gases/vapours hazardous to health are generated when
welding, soldering or cutting using tools which produce sparks
in foam-treated areas.
- Do not weld, solder or cut closer than 15 mm to moulded
foam inserts.
- Use an extraction system during work.
NOTICE
Do not damage underlying reinforcements.
Rewelding of reinforcement is not permitted due to safety reasons.
NOTICE
If welds are positioned too far on outside, strength could be
impaired
- RP weld points must be placed as far as possible from
outer edge of welding flange.
NOTICE
If adhesive is applied prematurely, bond could be impaired
- New part must be welded in within 90 minutes.
NOTICE
Bonding properties of adhesive may be impaired if adhesive
components are not hardened sufficiently.
- After bonding, the vehicle must not be moved and left at
room temperature (at least 15ºC) for 8 to 10 hours.
- During this time, the vehicle must be standing on a level
surface.
Observe safety information ⇒ Rep. gr. 00; Safety information
Only tools and workshop equipment authorised by Volkswagen
AG may be used ⇒ 2.1
Removal and installation are described for left side of vehicle as
an example.
Removing
Roof removed (without glass panel) ⇒ Rep. gr. 51; Renewing
roof - vehicle without glass panel.
Roof removed (with glass panel) ⇒ Rep. gr. 51; Renewing roof -
vehicle with glass panel.
Permitted separating cuts on complete side panel ⇒ Rep.
gr. 53; Permitted separating cuts on side panel
- Make separating cuts -2- as shown in straight line.

- Separate original joint on roof side member -1-.
- Make separating cuts -2- as shown in straight line.

- Separate original joint.
- Remove roof side member -1-.
- Remove remaining material.

- Completely remove remaining adhesive.
- Grind bonding surfaces and welding surfaces back to bare
metal and clean.
Installing
Replacement parts
- For allocation of 2-pack body adhesive, see ⇒ Electronic
parts catalogue (ETKA)
Important
- New parts must be adapted and attached with the vehicle
standing on its wheels or straightening bracket set.
- Transfer separating cut -2- to new part -1-, and cut in a
straight line.

- Grind bonding
- Apply 2-component body adhesive to entire surface.

- Adapt new part -1- to fit and fix in position.

- Check fit with add-on parts.
- Weld in new part -1-, RP spot weld seam.
- Weld parting cuts (either MIG solder seam or SG stepped
weld seam).
- Check fit with add-on parts.

- Fix new part -1- in position in area of door apertures using
mole grips.
- Weld in new part -1-, RP spot weld seam.
- Weld parting cuts (either MIG solder seam or SG stepped
weld seam).
- Install roof (without glass panel) ⇒ Rep. gr. 51; Renewing
roof - vehicle without glass panel.
- Install roof (with glass panel) ⇒ Rep. gr. 51; Renewing roof -
vehicle with glass panel.